
为适应工程对土工膜性能的需求,拓展土工膜的功能和应用范围,基于相关技术的发展和生产设备的更新,会员单位进行了深入研发并申报专利。为了促进土工膜技术推广与应用,增进技术人员对土工膜产品的认识,加强沟通交流,中国土工合成材料工程协会秘书处继续收集整理了2024年3月份协会会员单位授权的土工膜相关专利,如有遗漏,请及时向秘书处反馈,以便整理汇总。
发明专利
1.发明专利名称:一种大变形状态下土工膜水力特性衰变的测试装置
申请号:CN202011224710.4 公开号:CN112649293B 授权公告日:2024.03.26 专利权人:华北水利水电大学 本发明公开了一种大变形状态下土工膜水力特性衰变的测试装置,包括总控制计算器、无纸记录仪和土工膜,还包括拉伸试验模块和水力试验模块,所述拉伸试验模块包括万能试验机和拉伸膜架,所述拉伸模架安装在万能试验机的工作台上,所述拉伸膜架包括固定架、导向滑板、上连接杆、夹具组和拉力传感器;本发明结构独特,操作方便,有效的解决了现有装置不能真实模拟并测量实际工程中土工膜处于大变形状态下水力特性的问题,还解决了在对土工膜进行固定变形量拉力特性测试时,需要长时间使用万能试验机,导致万能试验机寿命缩短的问题。
图1
图2 图3 图4 图5 图6 图7 图8 图9 图10 图11 图12 图1是本发明结构示意。 图2是本发明拉伸膜架结构示意图。 图3是本发明上连接杆与上活动横梁固定关系示意图。 图4是图2中A处结构放大示意图。 图5是本发明拉伸膜取样装置结构示意图。 图6是本发明上固定盘结构示意图。 图7是本发明下连接盘结构示意图。 图8是本发明导向滑板位置固定示意图。 图9是本发明调节座结构示意图。 图10是本发明取样辅助装置安装位置示意图. 图11是本发明取样辅助装置结构示意图。 图12是本发明取样辅助装置叉形挂架结构示意图。 图例说明: 1为万能试验机,11为上活动横梁,111为固定座,12为标尺,2为 拉伸膜架,21为固定架,211为上固定板,2111为限位组件,2112为限位环台,2113为限位螺栓,212为下固定板,213为竖柱,22为上连接杆,23为夹 具组,231为上夹具,232为下夹具,24为拉力传感器,25为导向滑板,26为 限位螺母,3为调节座,31为固定螺杆,32为支撑座,33为下连接杆,4为取 样辅助装置,41为连接盘支架,42为固定板支架,43为支撑板,44为叉形挂 架,441为连接板,442为挂齿,4421为前挂板,4422后支撑板,45为伸缩杆,451为杆体,452为滑套,5为耐静水压力试验仪,6为拉伸膜取样装置,61为上固定盘,621为渗水孔,62为下连接盘,621为测水口,622为密封槽, 63为连接台,64为密封纹,7为总控制计算器,8为无纸记录仪,9为土工膜。 2.发明专利名称:一种土工膜施工用铺设装置 申请号:CN202210691544.1 公开号:CN114855757B 授权公告日:2024.03.26 专利权人:山东恒阳新材料有限公司 本发明提供了一种土工膜施工用铺设装置,属于建筑施工领域。其技术方案为:包括铺设架、设置在铺设架上的土工膜,土工膜两端内侧插设有内撑机构,内撑机构端部设置在铺设架上,铺设架包括左侧板和右侧板,左侧板和右侧板之间设置有若干道伸缩撑杆,两侧靠近铺设架底部的伸缩撑杆上设置有土工膜底撑组件,左侧板和右侧板顶面均设置有U形限位槽,土工膜两端的内撑机构外端分别设置在两侧U形限位槽中。本发明的有益效果为:结构简单、使用方便,能够高效的铺设土工膜,节省了大量的人力物力,大大提升了铺设效率。
图1
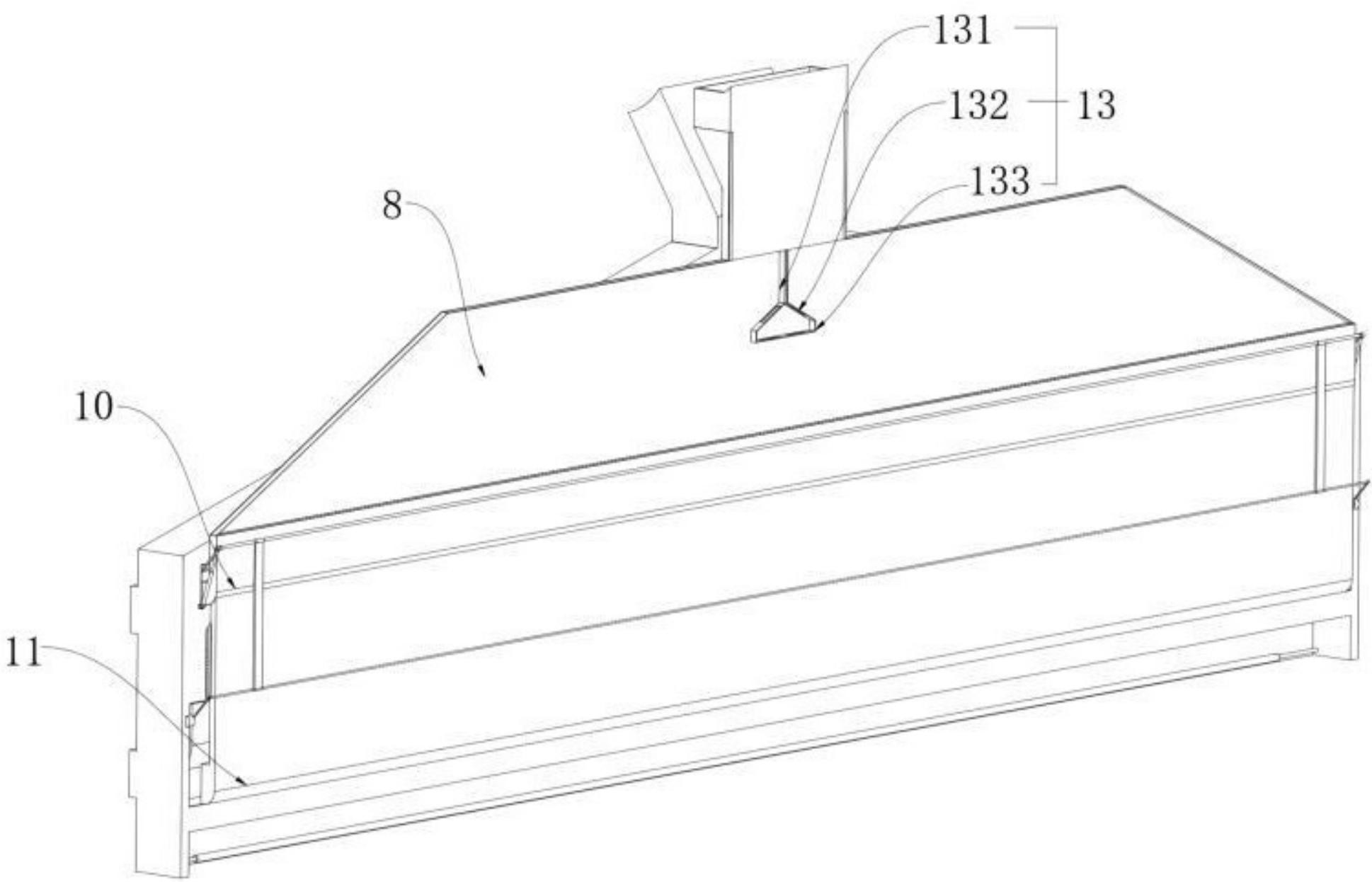
图2 图3 图4 图5 图6 图7 图8 图9 图10 图1 本发明实施例输送土工膜状态下的结构示意图。 图2 本发明实施例中铺设架的结构示意图。 图3 本发明实施例中内撑机构的结构示意图。 图4 本发明实施例中内撑机构的内部结构示意图。 图5 本发明实施例中内撑机构和土工膜的结构示意图。 图6 发明实施例输送土工膜状态下的结构示意图。 图7 发明实施例铺设土工膜状态下的结构示意图。 图8 为图7中A部的局部放大图。 图9 发明实施例铺设土工膜状态下的结构示意图。 图10 本发明实施例中插板和限位筒的内部结构示意图。 图例说明: 1、铺设架;2、土工膜;3、内撑机构;301、插杆;302、螺杆;303、滚柱;304、限位挡板;305、推块;306、环形推板;307、调节螺母;308、弧形撑板;309、第一连杆;310、第二连杆;311、第 三连杆;312、第一固定块;313、第二固定块;4、车轮;5、左侧板;6、右 侧板;7、外套杆;8、内撑杆;9、紧固螺栓;10、第二限位套筒;11、第二 弧形撑杆;12、第一限位套筒;13、第一弧形撑杆;14、U形限位槽;15、插 槽;16、插孔;17、推拉扶手;18、限位筒;1801、环形挡板;19、插板;20、竖杆;2001、限位顶板;21、牛眼轮;22、限位插杆;23、弹簧;24、 土工膜底撑组件。 3.发明专利名称:一种复合土工膜生产用成型装置 申请号:CN202311805839.8 公开号:CN117464949B 授权公告日:2024.03.19 专利权人:山东天仁新材料有限公司 本发明提供一种复合土工膜生产用成型装置,涉及塑料膜成型技术领域。该基于复合土工膜生产用成型装置,包括主机架,所述主机架为两侧龙门支架结构,所述主机架侧壁一侧固定连接有螺旋挤压机,所述螺旋挤压机侧壁固定连接有U型导热套,所述U型导热套为U型风管结构同时具有两个同侧方向的管口。通过一级和二级压薄组件同时运作保障作业的一致性,液压输出组件根据成膜厚度的要求进行调节,保障成膜的厚度符合预定要求,通过调整流道结构和压薄组件的运动,实现对原料流动的动力学控制,确保挤压成膜过程的平稳进行,加速成膜的速率,配合链轮输出组件、导辊、配合辊、压合辊、细辊系统,实现成膜的输送和最终的输出收卷。
图1
图2 图3 图4 图5 图6 图7 图8 图9 图10 图11 图12 图13 图14 图1为本发明的整体结构立体示意图; 图2为本发明的整体结构侧视立体示意图一; 图3为本发明的整体结构侧视立体示意图二; 图4为本发明的成膜结构立体示意图; 图5为本发明的成膜结构俯视立体示意图; 图6为本发明的输气斗以及成膜箱结构组合立体示意图; 图7为本发明的输气斗以及成膜箱结构组合侧视示意图; 图8为本发明的输气斗以及成膜箱结构组合剖视示意图一; 图9为本发明的输气斗内部结构示意图; 图10为本发明的成膜箱结构立体示意图; 图11为本发明的成膜箱内部结构示意图; 图12为本发明的成膜箱内部结构剖视示意图; 图13为本发明的一级压薄组件结构立体示意图; 图14为本发明的二级压薄组件立体示意图。 图例说明: 1、主机架;2、螺旋挤压机;3、U型导热套;4、入料斗;5、鼓风机;6、成膜箱;7、入料道;8、输气斗;9、入气道;10、热气输送组件;101、热气输送道;102、热气输送弯道;11、换热输送组件;111、冷气转换 道;112、冷气输送弯道;113、导热管;12、加热条;13、散气组件;131、 引导杆;132、锥形喷溅块;133、输入槽口;14、外侧分隔道;15、内侧分 隔道;16、转动座一;17、一级压薄组件;171、旋转板一;172、弧形封闭 板;173、压合斜板;18、撬杆一;19、固定框;20、联动杆一;21、转动座 二;22、撬杆二;23、联动杆二;24、传动杆;25、二级压薄组件;251、旋 转板二;252、弧形板;253、压膜板;26、液压输出组件;27、顶升道;28、输出导辊;29、滑动架;30、压合辊;31、齿轮传动组件;311、副齿轮;312、主齿轮;32、引导细辊;33、驱动粗辊;34、配合辊;35、链轮输 出组件;36、引导粗辊;37、输出细辊。
实用新型
1.实用新型名称:适用于制备大幅宽土工膜的同向平双螺杆混炼装置
申请号:CN202320894019.X 公开号:CN220614586U 授权公告日:2024.03.19 专利权人:山东建通土工材料有限公司 本申请涉及土工膜生产的技术领域,公开了适用于制备大幅宽土工膜的同向平双螺杆混炼装置,其包括混料机构、加热机构和驱动机构,所述混料机构包括传料桶和两根螺杆,所述传料桶上开设有进料口和下料口,所述进料口和下料口分别位于靠近传料桶长度方向的两端的位置,两根所述螺杆均转动连接在所述传料桶内,所述螺杆的长度方向与传料桶的长度方向平行,两根所述螺杆的转动轴线平行设置且位于同一水平面内,所述驱动机构与所述螺杆传动连接,所述驱动机构驱动两根螺杆同向转动,所述加热机构设置在所述传料桶外侧,所述加热机构用于对所述传料桶内的物料进行加热。本申请具有缓解物料在传料桶内混合不均匀的问题的效果。
图1
图2 图3 图1是本申请实施例的整体结构示意图; 图2是本申请实施例中混料机构部分和驱动机构部分的结构示意图; 图3是本申请实施例中传动组件部分的结构示意图。 图例说明: 100、混料机构;110、传料桶;111、进料口;112、下料口;120、螺杆;200、驱动机构;210、驱动电机;220、传动组件;221、主动齿 轮;222、从动齿轮;300、加热机构;310、加热件;400、辅助进料机构;410、进料管;420、连接管;430、溢料管;440、投料管。 2.实用新型名称:一种土工膜生产用切边装置 申请号:CN202321755733.7 公开号:CN220614181U 授权公告日:2024.03.19 专利权人:上海盈帆工程材料有限公司 本实用新型公开了一种土工膜生产用切边装置,包括横板,所述横板的上端前后两侧均固定连接有安装板,所述横板的左右两侧均设有调节板,所述横板内设有用于对两块调节板进行调节的调节机构,两块所述调节板远离横板的一端均固定连接有竖板,所述所述竖板远离调节板的一侧设有切边机,两块所述竖板之间设有用于对两个切边机进行升降的升降机构。本实用新型对土工膜裁切的适用范围较广,裁切的效率较高。
图1
图2 图1为本实用新型提出的一种土工膜生产用切边装置的正面结构透视图; 图2为本实用新型提出的一种土工膜生产用切边装置的俯视结构透视图。 图例说明: 1横板、2安装板、3调节板、4调节机构、5竖板、6切边机、7升降机 构、8空腔、9双向螺纹杆、10第一传动机构、11第一电机、12锥齿轮组、13 第一皮带轮、14第一锥齿轮、15第二锥齿轮、16凹槽、17螺纹杆、18螺纹块、19第二传动机构、20L型板、21第二电机、22第二皮带轮、23第三皮带 轮、24转轴、25缓冲机构、26缓冲槽、27缓冲块、28弹簧。
——摘录自“国家知识产权局网站”
审核:许喜娟 整理、编辑:程凤娟 |

冀公网安备 13010202002736号
冀ICP备17005494号 域名证书