
为适应工程对土工格室性能的需求,拓展土工格室的功能和应用范围,基于相关技术的发展和生产设备的更新,会员单位进行了深入研发并申报专利。为了促进土工格室技术推广与应用,增进技术人员对土工格室产品的认识,加强沟通交流,中国土工合成材料工程协会秘书处继续收集整理了2024年4月份协会会员单位授权的土工格室相关专利,如有遗漏,请及时向秘书处反馈,以便整理汇总。
实用新型
1.实用新型名称:一种土工格室防脱节点结构
申请号:CN202322293092.4 公开号:CN220813781U 授权公告日:2024.04.19 专利权人:昆山杰奥格新材料有限公司 本申请提供了一种土工格室防脱节点结构,属于建筑材料技术领域。该土工格室防脱节点结构包括插接于相邻两条土工格室筋带的U型插销和固定扣,所述固定扣上开设有两个通槽,所述U型插销两端分别穿过两个所述通槽并反向折弯分别形成第一折弯部,所述固定扣两端分别与所述第一折弯部相同方向折弯形成第二折弯部。通过U型插销的反向折弯形成的第一折弯部,使得U型插销和固定扣能够进行稳定的连接固定,安装方式简单,能够防止节点腐蚀断开,能够有效的防止节点脱落。
图1
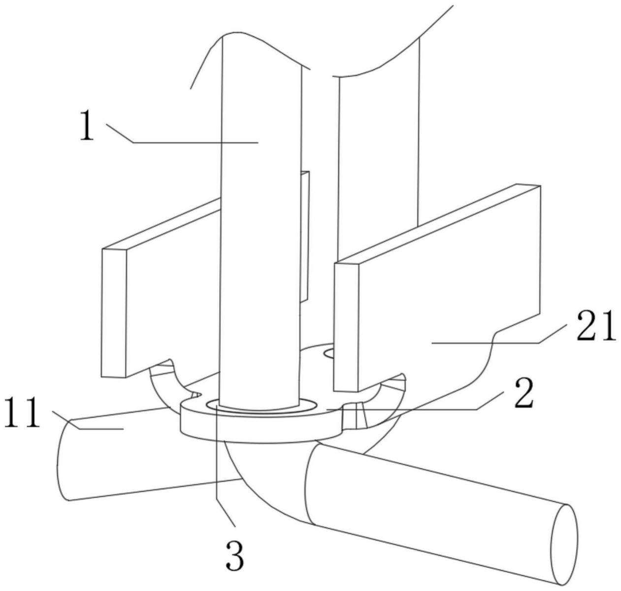
图2 图3 图4 图5 图1是本申请实施方式提供的土工格室防脱节点第一视角结构示意图; 图2为本申请实施方式提供的土工格室防脱节点第二视角结构示意图; 图3为本申请实施方式提供的U型插销和固定扣之间的连接关系结构示意图; 图4为本申请实施方式提供的固定扣结构示意图; 图5为本申请实施方式提供的弹性防滑垫结构示意图。 图例说明: 1-U型插销;11-第一折弯部;2-固定扣;21-第二折弯部;22-通槽; 23-让位槽;3-弹性防滑垫;31-空腔;4-弹性伸缩件。 2.实用新型名称:一种用于土工格室的防脱节点结构 申请号:CN202322323473.2 公开号:CN220813782U 授权公告日:2024.04.19 专利权人:昆山杰奥格新材料有限公司 本申请提供了一种用于土工格室的防脱节点结构,属于工程材料技术领域。该用于土工格室的防脱节点结构包括土工格室筋带和圆棒。所述土工格室筋带两两相邻设置,且所述土工格室筋带的表面设置插接区;所述圆棒插接于所述土工格室筋带表面的插接区内,且所述圆棒的两端滑动套设有卡扣,所述圆棒的两端均滑动插接有插销,且两个所述卡扣位于两个所述插销之间。本申请通过插销限制卡扣的移动,避免卡扣从圆棒的表面脱落,便可以使两个卡扣限制土工格室筋带的移动,避免圆棒和土工格室筋带发生分离,而圆棒则会阻碍两个土工格室筋带分离、脱落,从而大大提高土工格室筋带之间连接的稳定性。
图1
图2 图3 图4 图5 图1是本申请实施方式提供的用于土工格室的防脱节点结构结构示意图; 图2为本申请实施方式提供的土工格室筋带结构示意图; 图3为本申请实施方式提供的圆棒结构示意图; 图4为本申请实施方式提供的卡扣结构示意图; 图5为本申请实施方式提供的插销结构示意图。 图例说明: 100-土工格室筋带;110-插接区;200-圆棒;210-卡扣;220-插销。 3.实用新型名称:一种土工格室节点压入紧固连接结构 申请号:CN202322364672.8 公开号:CN220789699U 授权公告日:2024.04.16 专利权人:泸州胜扬新材料有限公司 本实用新型公开了一种土工格室节点压入紧固连接结构,所述土工格室包括数个片材,两个相邻片材之间具有若干连接节点,其特征在于,包括公扣和母扣,该公扣和母扣分别固定配置于两个片材的连接节点处,所述母扣包括第一固定片以及配置于固定片的若干插接筒,所述公扣包括第二固定片以及配置于第二固定片的若干插接杆,所述插接杆压入紧固于插接筒内。本实用新型给土工格室的生产制造提供了便利,便于片材之间的连接固定,提高了连接节点处的结构强度,不易拉扯脱落。
图1
图2 图3 图1为本实用新型的结构示意图; 图2为本实用新型在连接节点处的使用状态图; 图3为土工格室的剖视图。 图例说明:1-片材,2-公扣,21-第二固定片,22-插接杆,23-第二台阶,24-第 二圆锥面,3-母扣,31-第一固定片,32-插接筒,33-第一台阶,34-第一圆 锥面。 4.实用新型名称:一种应用于软弱地基的土工格室固定连接装置 申请号:CN202322302670.6 公开号:CN220768005U 授权公告日:2024.04.12 专利权人:山东科技大学; 王旭 本实用新型公开了一种应用于软弱地基的土工格室固定连接装置,包括螺纹锚杆、组合连接装置、加固装置,所述螺纹锚杆从上往下依次穿过组合连接装置、加固装置,所述组合连接装置位于螺纹锚杆中转动螺帽的下面、加固装置中限位挡板的上面,所述加固装置位于整个装置的最下面。在用于处理软弱地基时,通过本固定连接结构可使格室片材与地面、整个土工格室中相邻的两个格室片材、土工格室与土工格室稳定连接,使本固定连接结构较为稳定的固定在地面上,对土工格室固定连接问题提供了有力的技术支持。
图1
图2 图3 图4 图5 图6 图1为本实用新型的使用示意图。 图2为本实用新型的螺纹锚杆结构图。 图3为本实用新型的组合连接件分解结构示意图。 图4为本实用新型的组合连接件分解结构俯视图。 图5为本实用新型的凹形件B、凹形件C结构示意图。 图6为本实用新型的中心连接件、固定挡板、限位挡板组合图。 图例说明: 1螺纹锚杆,11钢转动螺帽,12转动螺帽,13螺纹杆,2组合连接装置, 21凸形件,22凹形件A,23凹形件B,24凹形件C,3加固装置,31中心连接件,32固定挡板,33限位挡板。 5.实用新型名称:一种土工格室节点铆焊连接结构 申请号:CN202322355895.8 公开号:CN220746863U 授权公告日:2024.04.09 专利权人:泸州胜扬新材料有限公司 本实用新型公开了一种土工格室节点铆焊连接结构,所述土工格室包括数个片材,两个相邻片材之间具有若干连接节点,包括公扣和母扣,该公扣配置于片材的连接节点处,该公扣包括第一固定片以及配置于第一固定片的数个连接杆,该连接杆远离第一固定片的一端为热熔头;该母扣配置于与公扣相邻片材的连接节点处,所述母扣包括第二固定片以及配置于第二固定片的数个连接孔;数个所述连接杆与数个连接孔一一对应设置,所述连接杆对应插接连接孔,且所述热熔头外露于连接孔,该热熔头用以热熔填封连接孔。本实用新型连接节点处的强度较高,土工格室不易拉扯脱落。
图1
图2 图3 图4 图5 图6 图1为本实用新型实施例1中公扣和母扣的结构示意图; 图2为本实用新型实施例1的使用状态图; 图3为本实用新型实施例2中公扣和母扣的结构示意图; 图4为本实用新型实施例3中公扣和母扣的结构示意图; 图5为本实用新型实施例3的使用状态图; 图6为本实用新型实施例4中公扣和母扣的结构示意图; 图例说明: 1-片材,2-公扣,21-第一固定片,22-连接杆,220-倒角,231-凸台,232-凹槽,24-第一装配块,3-母扣,31-第二固定片,32-连接孔,321- 固定孔段,322-圆锥孔段,33-第二装配块。
——摘录自“国家知识产权局网站”
审核:许喜娟 整理、编辑:程凤娟 |

冀公网安备 13010202002736号
冀ICP备17005494号 域名证书